|
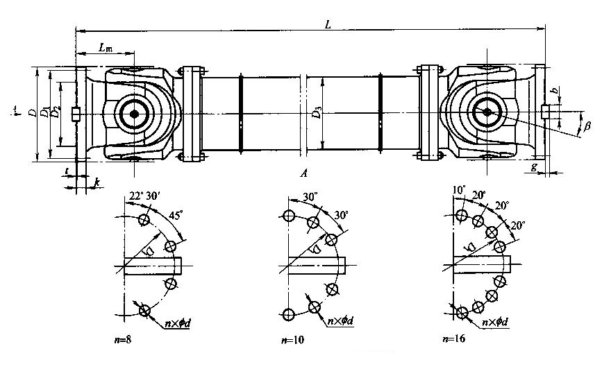
Features and application of SWC-WF universal coupling: connecting shaft drive of two different axes, can not buffer and reduce vibration, adopting integral fork head structure, bearing fixing without bolts, avoiding loose bolt breakage and easy maintenance. It has long service life, high reliability, large bearing capacity and large inclination. It can work under the condition of β≤5°~25°. Suitable for rolling machinery, lifting and transportation, construction machinery, petroleum machinery and other heavy machinery Machinery, in order to meet different installation types, there are seven types of structure: BH type - standard telescopic welding type; BF type - standard telescopic flange type; DH type--short telescopic welding type; CH type - long telescopic welding type; WH type - no telescopic welding type; WF type - no telescopic flange type; WD type - no telescopic short type; ![]() ![]() |



